Samsung патентует для смартфонов систему идентификации по кровотоку
30.01.18
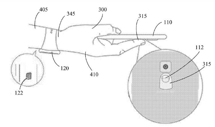
Управление США по патентам и торговым маркам (USPTO) опубликовало патентную заявку Samsung на новый метод идентификации пользователей мобильных устройств — «Real time authentication based on blood flow parameters». То есть, аутентификация в режиме реального времени на основе параметров кровотока. Для его реализации будут осуществляться измерения в разных точках на поверхности кожи.

Датчик нового типа может быть интегрирован в заднюю панель корпуса. Для идентификации пользователю будет достаточно предложить палец к сенсорной области. Кроме того, он может быть интегрирован в основной модуль умных часов или фитнес-браслета. Благодаря постоянному контакту устройства с запястьем владельца идентификация будет производиться в режиме реального времени.

Не пропустите интересное!
Підписывайтесь на наши каналы и читайте анонсы хай-тек новостей, тестов и обзоров в удобном формате!
Обзор смартфона Oppo A6 Pro: амбициозный
Новый смартфон Oppo A6 Pro — телефон среднего уровня с функциональностью смартфонов премиум-класса. Производитель наделил его множеством характеристик, присущих более дорогим телефонам. Но не обошлось и без компромиссов. Как именно сбалансирован Oppo A6 Pro – расскажем в обзоре.
Игровой руль Logitech G29: спорткар на столе
Расскажем про игровой руль Logitech G29 для ПК и PlayStation, а также дополнение в виде 6-ступенчатого переключателя передач Driving Force Shifter.
Fairphone выпустила наушники со сменными аккумуляторами аккумулятор наушники
Нидерландская Fairphone представила второе поколение полноразмерных беспроводных наушников Fairbuds XL с фишкой долговечности и удобстве использования
Лучшие фильмы и сериалы 2025 года по версии IMDb кино рейтинг
Сайт IMDb обнародовал обновленные рейтинги лучших фильмов и сериалов 2025 года. В список вошли проекты, которые собрали наибольшее внимание пользователей сервиса


